任天堂Joycon专利大揭秘:独家创新技术深度解析

13 1

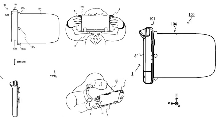
标题:任天堂Joy-Con手柄专利曝光,新设计引期待与质疑 近日,知名油管UP主USPTO公开了一款Joy-Con手柄的全新专利设计图,该专利早在2018年就已提交,历经近五年才于今年3月获得批准。 专利图显示,这款新手柄借鉴了3DS上使用的Circle Pad摇杆,相较于传统摇杆,Circle Pad摇杆更贴合手柄,有望解决传统摇杆的漂移问题。操作上可能不如传统摇杆流畅,玩家需用手指搓动才能操作。 新专利还将摇杆与十字键的位置进行了互换,下方增设了两个独立按钮,预计在单手柄操作时将更加舒适。尽管新专利与3DS系列有相似之处,但实际体验可能并不理想。 与此任天堂新款Switch主机的发售日期尚不明朗,但配置信息已逐渐浮出水面。据悉,新款Switch将搭载英伟达Lovelace架构芯片,支持DLSS技术,并有望配备7英寸的OLED屏幕。 虽然新摇杆的设计有望解决漂移问题,但实际操作体验如何,还需玩家们亲自体验。对于任天堂新款Switch的期待,玩家们纷纷表示既兴奋又担忧,毕竟新技术的加入往往伴随着未知的风险。

任天堂Joycon专利大揭秘:独家创新技术深度解析

注意!实况足球Online3月20日将进行不停服维护,详情速看

生活模拟玩法升级!3.19粒粒的小人国开测,2026游戏必冲之作

Steam好评如潮!卡牌肉鸽杀戮尖塔2玩家实测值不值得玩?

Eidos蒙特利尔大裁员,漫威银河护卫队玩家忧后续?

怪物猎人 物语3,命运双龙宣传视频,命运双龙羁绊玩法有哪些新突破?

今日焕新!完美世界,诸神之战新职业魂契2.0震撼登场

巅峰“大帝”护球独闯龙潭,天才“带刀侍卫”一鸣惊人!

三角洲行动职业联赛启幕,电竞布局新成就已解锁

天刀S5朱雀主题外观上新,炽焰设计引玩家期待

守望先锋第1赛季季中更新狂欢开启,寄叶计划联动携多重活动重磅登场

NS2版辐射4表现,数毛社大赞超出预期?

幻兽帕鲁校园恋爱模拟联动特别视频今日正式公开!

生化危机9玩家吐槽里昂开废保时捷,保时捷官方回应引关注

女神异闻录,夜幕魅影4.8.2版本今日上线 苍犬忠义咆哮新篇登场

Ruler被疑逃税上热搜,AD偷经济话题再引热议

评论列表
  1. DriverRace 回复
    任天堂Joycon那专利是真有东西!我之前玩塞尔达拆成俩手柄,体感震动巨带感,挥剑时像真拿着剑似的,看解析才知道传感器设计这么巧,怪不得手感一直这么绝,独家创新真不是吹的!